Australians have a knack for ingenuity.
Last year, IP Australia approved 1367 patent claims for standards and innovations.
The approved patents include a new way to dispense sub-zero beer, lights to deter foxes and a plate scale for alerting people when they eat too quickly.
A head-support apparatus for travellers
"A pivoting apparatus for supporting a person's head when seated in a plane, car, or other vehicle."
Ever had a hard time sleeping in a car, train or plane? This device will allow travellers to rest easy.

Crop meter and uses therefor (sic)
"Ultrasonic devices for determining crop yield and/or plant height such as for harvest or grazing purposes."
The invention provides a sonar device for determining a plant-yield characteristic. Accurate determination of yield is important for deciding harvest time, timing of fertiliser application, optimising grazing to maximise productivity of grazing animals, and prevents overfeeding on dairy farms.
Image
Spectacle and writing instrument combination
"A spectacle and writing instrument combination which uses an integrated holding apparatus enabling spectacles to be worn simultaneously with an attached writing instrument."
For people who need spectacles to read and write, this combination may be handy.

System and method for weight management
"A system and method for weight management by controlling the speed at which a meal is consumed so as to trigger a natural satiety response."
Scoffing your food is an effective method of gaining weight, since your body can not have time to tell you if you have eaten enough. This device weighs your plate and tells you if you eat too quickly.

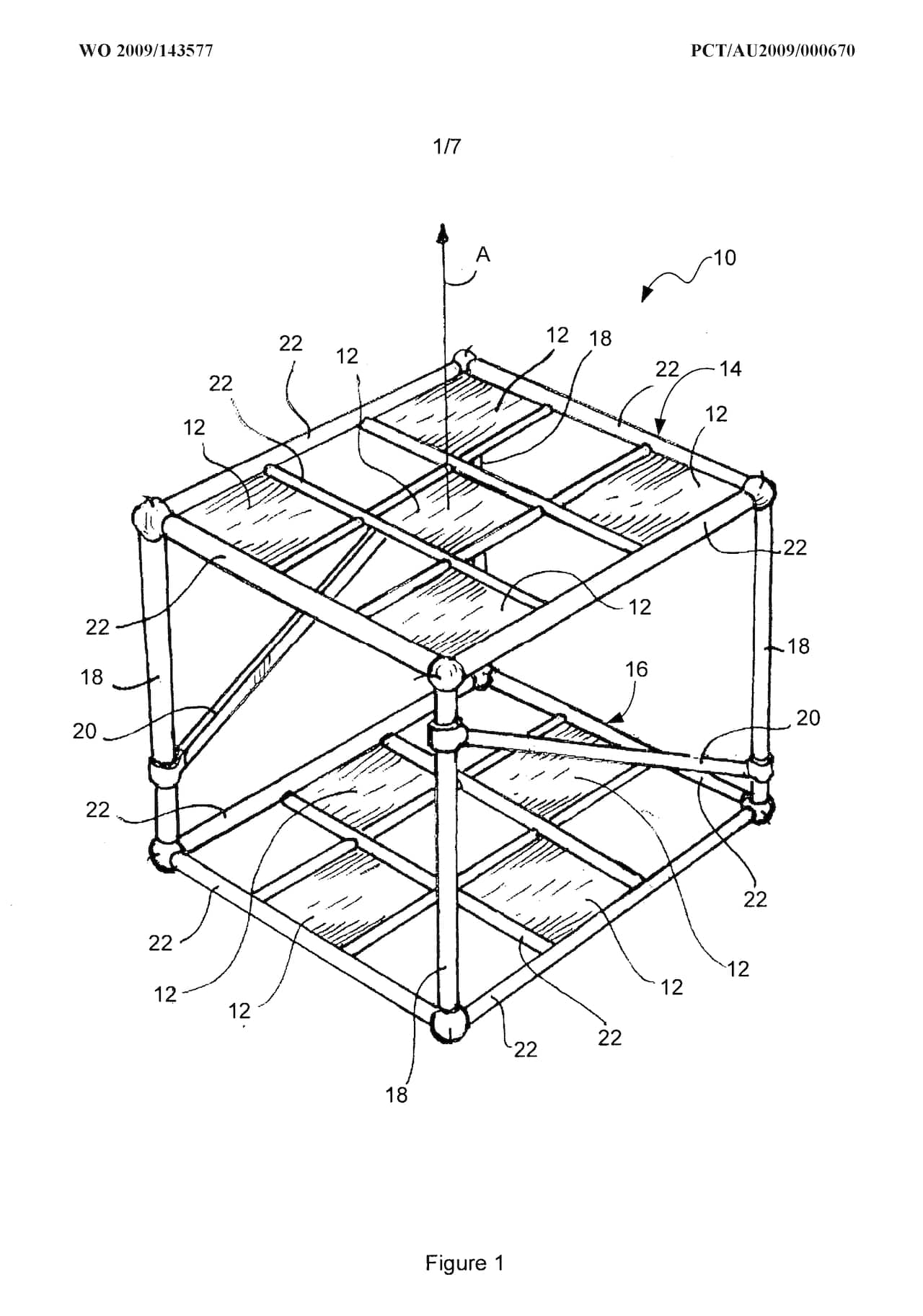
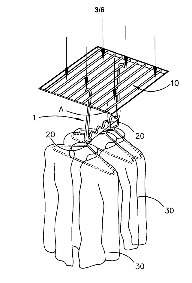
Three-dimensional solar arrays
"An efficient model for solar arrays of photovoltaic modules."
The side-by-side method of mounting solar panels prevents cooling, which decreases power output, and increases wind resistance, which sometimes requires heavier supports. This invention aims to address both issues.

Tongue depressor
"A tongue depressor for illuminating the oral cavity, and to methods of using the tongue depressor."
Wooden objects are commonly used to press down a tongue. This device illuminates the mouth as well, rather than medical staff using a torch in their other hand.

Hanger supportable from an air outlet
"A hanger that is supported from an air outlet to exploit a stream of air flowing through the outlet for drying and/or airing purposes."
This invention would be a useful addition to a home that uses ducted air conditioners, rather than using a clothes dryer.

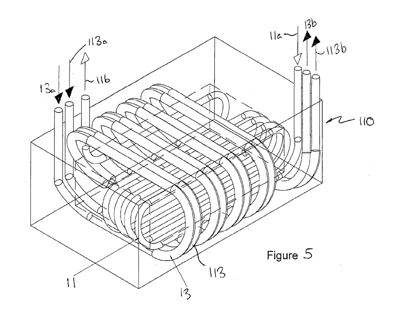
Improvements in heat exchangers for dispensing sub-zero beer
"An improved apparatus for dispensing cooled fluids, in particular fluids, such as beer."
Beer in pubs and clubs is often stored in kegs in cool rooms, but must travel to taps via long lines. The present invention seeks to provide a lower cost and preferably more efficient beverage cooling system.

Graffiti Deterrent
"An invention to deter the application of graffiti to the at risk surfaces of public walls, buildings, vehicles and similar infrastructure."
By printing recurring symbols all over a wall, preferably a corporate logo (like the City Rail logo pictured), graffiti signatures or "tags" would lose their contrast with the wall, hopefully deterring the act.

Apparatus and methods for deterring predators
"Lighting apparatus that is intended to deter predators such as foxes."
An array of lights might deter foxes from praying on livestock, like lambs and goat kids.


